Table de mesure 3 points

PMS BECUS Métrologie : Spécialiste Métrologie et Contrôle
Réf. PMS6401
Permet le contrôle précis d’alésages, gorges, diamètres, entraxes et filetages par mesure 3 points, assurant stabilité et précision, avec lecture directe M3 ou par comparateur (bagues mini/maxi ou coefficient).

Permet le contrôle d’alésages, de gorges intérieures et extérieures, d’évidements, de diamètres, de longueurs entre gorges, d’entraxes, de filetages … La mesure par comparaison garantit une précision de mesure élevée.

Versions à trois points (touches 120°) offrant une meilleure stabilité et une répétabilité accrue.

La mesure 3 points centre automatiquement la pièce, supprime la recherche du point de rebroussement et permet de détecter les défauts de circularité de type « triangulation » ; en revanche, le contrôle des défauts d’ovalisation doit être réalisé en mesure 2 points.

Ces tables de mesure sont couramment utilisées en atelier de production comme en salle de métrologie, pour des opérations de contrôle fiables et répétables.

Caractéristiques : inversion instantanée du sens de mesure par molette (mesures intérieures et extérieures), force de mesure réglable, butées de course gauche et droite ajustables indépendamment, système de mesure à touche mobile monté sur guidage linéaire de haute précision. L’ensemble des composants de précision est trempé et rectifié afin de garantir durabilité, stabilité et exactitude de mesure.

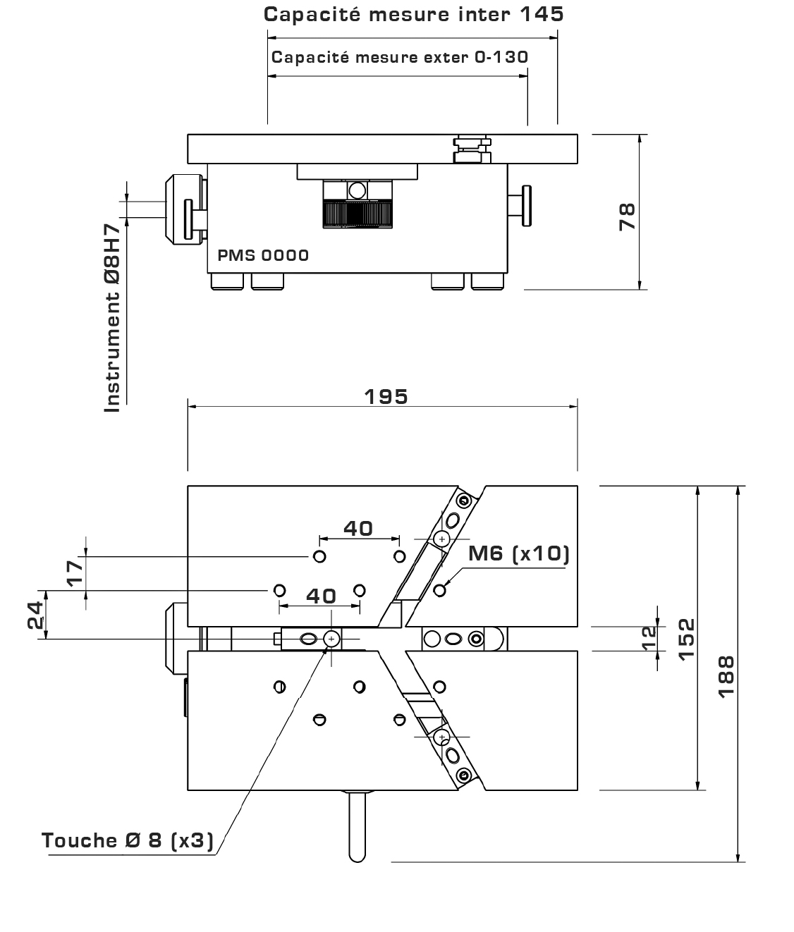
Capacité :

  • Mesure extérieure 0 – 130 mm
  • Mesure intérieure X – 145 mm

Mesure avec 3 (et 2) touches

La table de mesure 3 points est un système avec 1 touche mobile et 2 touches fixes.

Course touche mobile : 35 mm (légèrement inférieure en mode 3 points)

Largeur rainure centrale : touches Ø8

 

En standard, appareil livré nu sans touches, ni moyen d’affichage.

Nous fabriquons les étalons pour calibrer les tables (bague, cale, calibre…), nous préciser la cote à  contrôler.
Livrable avec certificat d’étalonnage COFRAC 

Vous aimeriez peut-être

Une question ? On vous rappelle !

Pour toute demande de prix ou sujet plus complexe, il est préférable de passer via le formulaire de contact général.

Demande d'informations produit